分享到:
首页
公司简介
产品中心
新闻资讯
案例展示
技术资料
人才招聘
在线留言
联系我们
新闻资讯
公司新闻
行业资讯
常见问题
公司新闻
您的当前位置:首页 > 新闻资讯 > 公司新闻 > 正文
浏览字体:大 中 小 访问: 次  发布人:admin  时间:2014/10/28 10:55:10

气动蝶阀内部结构

  气动蝶阀内部结构:
  1、弹性座密封结构
  弹性座密封结构,采用偏心蝶板安装在阀杆上,其边绩为球形、锥形两种,并与弹性密封圈相配合.密封圈做成L形和U形两种,与蝶板密封面相吻合。密封副在介质压力作用下,产生微小的弹性变形,从而实现密封。根据阀门的公称通经,公称压力选择其结构形式,根据承压受力设计密封圈壁厚。
  

点击新窗口打开大图


  2、多层次密封结构
  多层次密封结构,采用软硬多叠层式金属圈,将多叠层密封圈固定在蝶板上,使其不发生弯曲和移动,并有效避开了介质对叠层密封圈的直接冲刷,阀座密封面采用耐磨性能极佳的硬质合金焊条堆焊,从而提高了蝶阀的使用寿命。并具有金属硬密封和弹性密封的双重优点,无论在高温或低温情况下,均具有优良的密封性能。采用三维偏芯结构设计,阀座与蝶板几乎无磨擦,具有越关越紧的密封功能。板构
  

点击新窗口打开大图


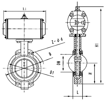
  气动蝶阀CAD设计图:

点击新窗口打开大图


  
  
  3、中线型结构
  中线型结构,由阀体、内衬里层(聚四氟乙烯或橡胶)和(不锈钢阀板或镀铬钢阀板)、阀轴组成,其介质流线型的结构设计近似于直线,调节性能好,密封结构为居中心线型密封,密封性能可靠达到双向密封零泄漏,可以任意位置安装。

【复制标题和链接,发送给好友】
上一篇:检查电动蝶阀的注意事项
下一篇:选用电动蝶阀需要考虑哪些方面
相关文章
首页 | 公司简介 | 产品中心 | 新闻资讯 | 案例展示 | 技术资料 | 人才招聘 | 在线留言 | 联系我们

本站关键词:气动阀门 电动阀门 津ICP备08100650号-3 津公网安备 12011002018036号
  • QQ交谈
  • 一标阀门1
  • 一标阀门2
  • 客服热线:
  • 13820338668
  • 微信询价